这些专利有基于硬件设计的,有单纯是应用的,还有一些商业上的安排。而部分专利的商品化,相信会极大改变我们的生活,改变商业形态。来看看部分有趣的专利吧。
基于地理信息的撮合应用

这是苹果基于地理位置的专利应用,我们可以理解为它是基于位置的社交软件。很多场合,陌生人之间的交流不那么容易:你得交流很长时间或者忍受不少难堪才能知道对方是否和你是一类人,是否有相同的志趣。
不光是苹果产品,很多 LBS 应用也在致力于解决这个问题,不过苹果的方案更具有系统性——它可以通过对手机数据的手机分析你的行为模式和喜好。比如,通过 iTune 知道你喜欢的歌手,通过 Safari 知道你经常上的网站,通过内置的指南针和地图,知道你常常出没的酒吧、剧院。
这是另外一种精准社交,人们总是在寻找和自己相似的人。而且这类工具会解放了更多的人,比如同性恋者。他们不需要通过“借火”这类指向模糊的暗号来寻找自己的伴侣了。
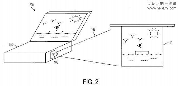
激光投射专利

激光投射专利,专利的细节描述说它会降低系统的耗电量、减少光斑现象。
这个专利可以使用在 Mac 和手持设备上,有传言说苹果要开发苹果电视,那苹果对电视传统的突破,会是一个带激光投射投射功能的装置(电视机)吗?
苹果会发展媒体中心并进一步打造我们的客厅吗?毫无疑问。期待一个这样的投影设备出现。
多频天线系统

内置多频段天线的专利,这可以让 Macbook Air 真正 Air 起来——我们期待 Macbook Air 内置 3G 模块很久了。
不过,很廉价的上网本都早已经可以内置 3G 无线上网卡,苹果这个方面的考虑更多应该是商业上的考虑而不是专利技术方面的吧。这更像一个对应其他厂商专利申请时的防御而不是突破。
混合屏幕显示的专利

专利描述的是 E-Ink ,动态显示,触摸屏显示技术的组合,优点不言而喻:对于 iPhone 等手持设备来说,既不牺牲动态视频的显示效果,又照顾了清晰锐利的单色文字。
而更棒的是,屏幕不光可以在单色 E-Ink 和彩色 LCD 之间切换,而且可以根据不同区域和不同内容自动切换。比如,用户在浏览一个带有文本、图片和视频的网页。那么,E-Ink 屏幕负责显示文本,而 LCD 屏幕则负责显示图片和视频。最终用户看到的是一张完整而富有层次感的网页。
这个专利虽然现在没有商业化,但是它是一个可行的专利技术。我们之前也报道过已经量产的类似技术,比如 Pixel Qi 这种 E-ink 和 LCD 的双模式显示屏,并在 CES 2011 现场体验过 Pixel Qi 这个震撼性的屏幕显示。
基于红外技术的防摄录系统

这个专利很有意思,不过它只会受到艺术家、剧院和演出商的欢迎。一个使用红外技术的防录制和拍摄系统,装置设置在舞台正面,拿出 iPhone 想拍摄?Noway,这个系统自动会禁用 iPhone 的录制功能。
即便成为现实,相信这会是一个最快被 Hack 掉的技术,黑客总是喜欢自由,致力于为 iPhone 解除“枷锁”。
基于罗盘(磁力感应)和超声波的通信技术

磁力感应和超生波传感在这个场合所起到的作用主要是近距离情况下两部设备的更快、自动的识别、握手及通讯。WIFI 和蓝牙同样可以用来实现这个需要,但是他们更为复杂,耗时更长,而且对电力消耗更大。
苹果在近场通讯(NFC)上已经做了不少专利的准备,磁力感应和超声波传感一个更棒的可能就是也许它们也许会作为苹果自己电子(非接触)支付系统的基础。
基于 iTune 支付系统,装备了 NFC 技术和和内置支付程序的 iPhone ,配合上苹果的云端技术,还有苹果的海量用户和内容分发机制,苹果极有可能打造出一个强大的电子钱包支付系统。
