欢迎来到这个诡异的科技专利世界。这里有很多奇异的想法和设计,它们是科技创新的源泉,进步的动力;但 是,这里也充斥着许许多多平淡无奇,滑稽可笑的想法和设计,而且还得到了美国专利与商标办公室(USPTO)的认证和授权,而它们,很多时候不是用来防身 的,而是用来攻击他人的。

是的,科技领域确实存在“专利流氓”的现象,臭名昭著,谈之变色。一些人将所谓的专利技术当成是自己的核心竞争 力,攻击他人。从某种意义上讲,这不可谓不是一种披了合法外衣的恶意竞争,对行业的健康发展有百害而无一利。本来是为了规范行业竞争和发展,反而适得其 反,成为行业的毒瘤。
或许,有些平淡无奇、不痛不痒的专利技术本就不该被授权,这是有关方面的失职。日前,pcworld微电脑世界张榜公布了10个他们认为本来应该被驳回的专利技术,一起来了解一下。
1.交互式网络

获批时间:1998年
据说,美国加利福尼亚大学研究员迈克尔•多伊尔(Michael Doyle)联 合他人于上世纪90年代初共同开发了互联网必不或缺的技术——网页交互性。经过几年的发展之后,网页交互性最终成为了互联网的行业标准和规范。这项技术属 于加利福尼亚大学吗?其他人可以使用吗?这都不重要,因为多伊尔以及他的公司Eolas(只有一名员工,就是他本人)已经为该技术申请了专利保护,企图通 过法律保护将网页交互性技术占为己有。
专利在手的多伊尔此后发起了一系列针对他人的侵权案诉讼,10多年来可谓硕果累累,其中就包括针对微软的5.21亿美元的巨额侵权赔付。直到2012年初,关于网页交互性专利保护案,法庭陪审团最终做出了网页交互技术不属于任何人的裁决。
2. 一键下单——亚马逊崛起的秘密?

获批时间:1999年
请给与他们(潜在消费者)信任。亚马逊的智囊团队非常清 楚网购的游戏规则——消费者需要简便快捷的消费体验,不需要冗长的个人信息录入,不需要ID,不需要验证码,这就是网购杀手锏——一键下单。当亚马逊卖出 第一本书之后第2年,也就是它开始盈利前4年,亚马逊开始为“一键下单”申请专利。2年之后,也就是1999年,一键下单正式获得专利保护。
从那时候开始,亚马逊开始急速增长。之后,亚马逊的竞争对手开始针对“一键下单”打了很多“擦边球”,导致亚马逊的优势被削弱。但是在北美,亚马逊依然继续享受着“一键下单”这一可笑的专利技术给它带来的诸多利益。
3. 智能手机耳机相关的专利

获批时间:2008年
Intelligent Smart Phones Concepts(以 下简称ISPC)是一家科技公司,它的一项关于手机耳机设备的专利权注册号为U.S. Patent No. 7373182。该项专利权内容与手机耳机 有关,其具体叙述为移动电话所附带的耳机能够从移动电话中如何获得语音信号,同时其还能够将语音信号由耳机话筒回传至移动电话。
此 前,ISPC认为苹果iPhone手机侵犯其该项专利,并一纸诉讼将苹果送上了法庭,要求赔偿300万美金。不过根据此前美国著名科技网站CNET撰文报 道,ISPC公司实际上只是一家空壳公司,其存在的目的便是指控其他企业侵犯其专利权并由此获得赔偿金。无独有偶,此前三星和RIM也被这家所谓的空壳公 司盯上过。
4.微软的键盘键专利技术

获批时间:2008年
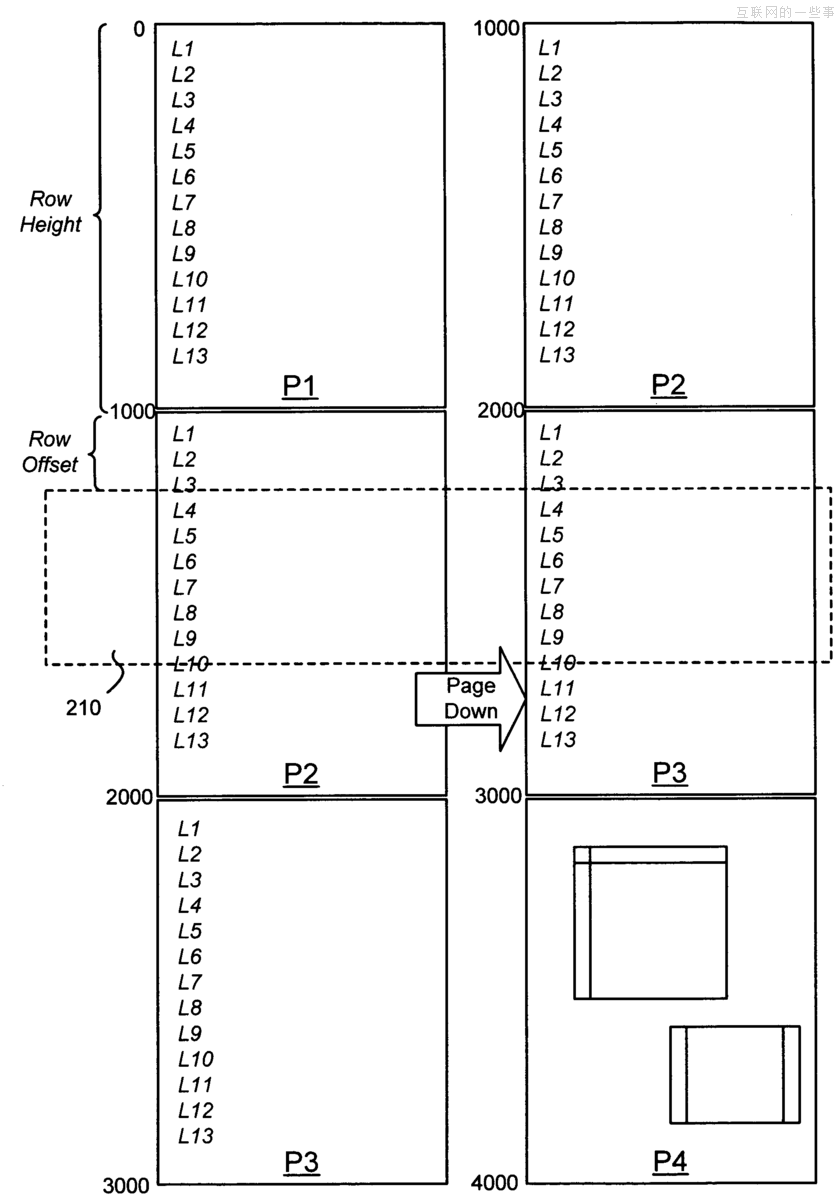
很难说得清PC键盘上“Page Up”和“Page Down”按键 是什么时候出现的。自从IBM Selectric打字机慢慢退出历史舞台之后,几乎所有的物理键盘上都长了这么两个按键。这也是为什么很多人在2008 年当获悉微软为这两个功能键申请专利的消息后直挠头的原因。
事实上,微软并未给“Page Up”和“Page Down”按键申请专利,而是针对这两个按键的功能定义进行了专利申请。具体来讲,微软专利中的“Page Up”和“Page Down”按键是“下拉”或者“上拉”屏幕,而非“翻屏”,两者有根本性的区别。
但是,这个专利真的很有价值吗?其实不然,因为该功能的可代替性太高了。
5.Smartphone Technologies灾难

时间:2010-2013
本文主要是批判无聊的专利技术,但 也不完全是,比如下面我们要讲的就是无聊专利技术的延伸——无聊的专利诉讼案。主角是凶神恶煞般的Smartphone Technologies,它是 一家美国德州的专利控股公司,它可以说是一家皮包公司,没有官网、没有办公室、没有员工,甚至连公司联系电话都没有。
它专门打专利侵权方面的官司,很多科技公司对此叫苦不迭,其中亚马逊、苹果、AT&T、戴尔、HTC、LG、微软、诺基亚、RIM以及索尼都曾被它告上过法庭。
6.无所不包的专利技术

时间:2012年
2009年的时候,苹果公布了一款概念性产品MacBook Wheel——巨大触控圆盘代替了传统的键盘,使输入速度快如闪电。没有人怀疑苹果的创新能力,他们反感传统和老套。
2012年,苹果公司为这一革命性的的电脑输入方式申请了专利保护,然后这项专利技术的名称和介绍包含有26000个单词,涉及机器人、力回馈、多点触控、虚拟化控制以及视觉提示等技术。这是一项专利技术吗?
7.苹果的the rectangle外观专利

时间:2012年
即便对科技领域并不是很关注人,相信他们对于苹果和三星之间喋喋不休的专利争吵也有所耳闻。在任意搜索引擎中输入“苹果VS三星”关键字,马上会出现关于两者专利案的海量信息。
苹 果和三星恩仇录始于2011年,当时苹果状告三星侵权,之后,三星反告苹果侵权,哥俩你来我往,经常公堂对薄。高潮出现在2012年底,当时美国专利与商 标办公室(USPTO)获准苹果的一项关于外观设计的专利——the rectangle,专利号为US D670286 S1。
但是这个专利被外界认为是欠妥的,因为每一个移动设备的外观大概都是一样的,就像人与人之间,基本是相仿的。
8.苹果滑动解锁专利侵权案被否决

时间:2012年
苹果的滑动解锁(slide-to-unlock )专利也非放之四海而皆准。去年,苹果状告HTC侵权,但是在英国伦敦的法庭上,法官裁定HTC没有侵犯苹果所谓的滑动解锁专利。
无独有偶,德国的专利法院似乎对于苹果滑动解锁专利也不感冒,他们认为该专利缺乏“科技创新性”。不知美国专利与商标办公室对此会作何感想。
